vDisk 云桌面集控管理平台:如何新增和配置门禁设备?

本文介绍如何在 vDisk 云桌面集控管理平台(以下简称 vDisk 云桌面)中新增和配置门禁设备。通过将门禁设备集成到 vDisk 云桌面,可以实现对云桌面访问权限的集中管理和控制,提高安全性,并简化用户身份验证流程。
适用场景
- 需要对云桌面访问进行严格控制的组织,例如金融机构、政府部门、研发机构等。
- 希望简化用户身份验证流程,提升用户体验的企业。
- 需要对特定用户或用户组授予不同云桌面访问权限的场景。
- 需要记录和审计云桌面访问行为的组织。
前置条件
- 已成功部署 vDisk 云桌面集控管理平台,并确保其正常运行。
- 已购买并安装支持与 vDisk 云桌面对接的门禁设备。目前 vDisk 云桌面支持的门禁设备类型有限,建议在购买前与厂商确认兼容性。
- 已获取门禁设备的 IP 地址和序列号等信息。
- 确保 vDisk 云桌面服务器与门禁设备在同一网络内,或网络之间可以互相访问。
实施步骤
- 登录 vDisk 云桌面控制台。 使用管理员账号登录 vDisk 云桌面集控管理平台。
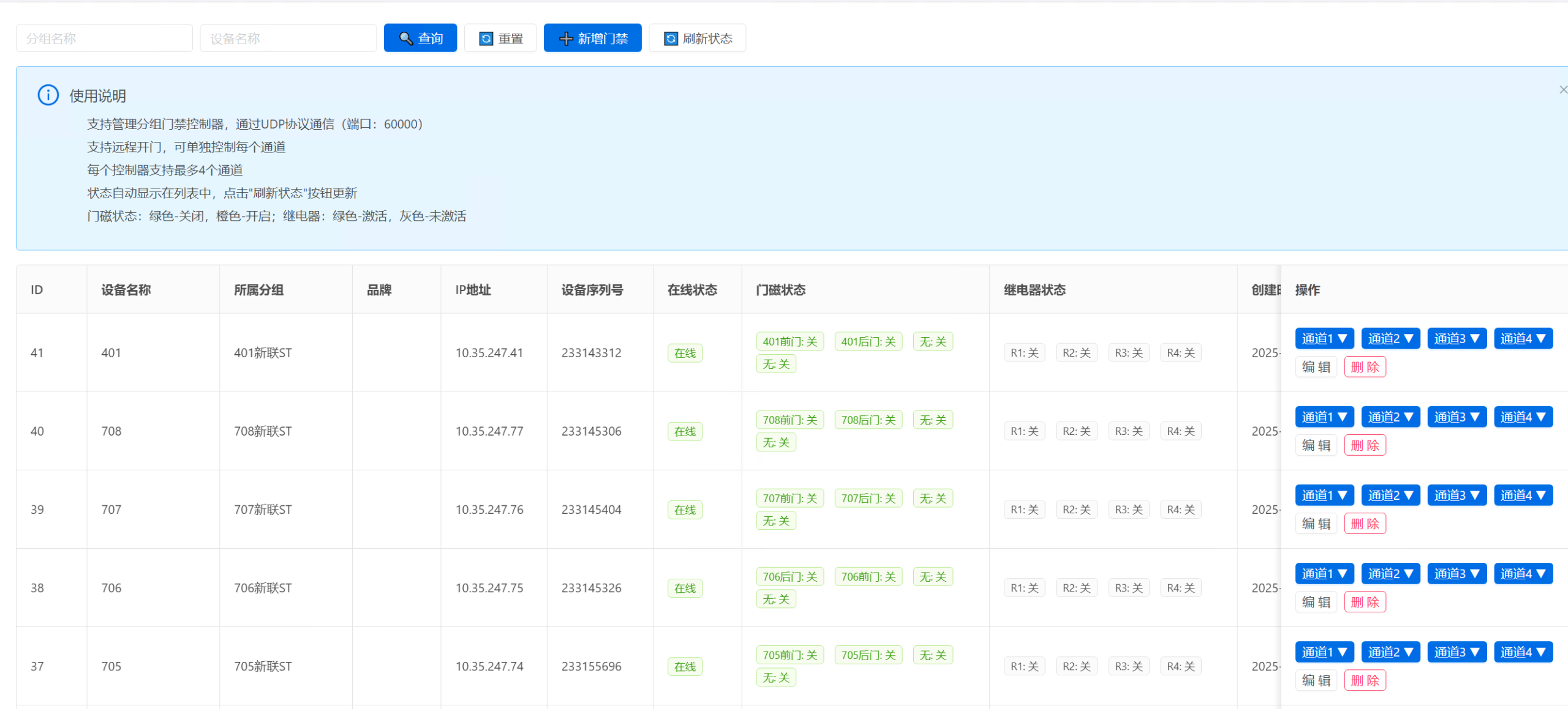
- 进入“门禁管理”页面。 在控制台界面,依次选择:物联管理 -> 门禁管理。
- 新增门禁控制器。 在“门禁管理”页面,点击“新增门禁控制器”按钮。
- 填写门禁设备信息。 在弹出的“新增门禁控制器”对话框中,填写以下信息:
- 设备名称: 为门禁设备指定一个易于识别的名称,例如“前台门禁”、“研发部门门禁”等。
- 所属分组: 选择门禁设备所属的分组。如果尚未创建分组,需要先创建分组。分组有助于对大量门禁设备进行分类和管理。建议根据地理位置、部门等维度进行分组。
- 门禁IP: 填写门禁控制器的 IP 地址。确保 vDisk 云桌面服务器可以访问该 IP 地址。
- 门禁序列号: 填写门禁控制器的序列号。该序列号通常可以在门禁设备或其包装盒上找到。
- 保存门禁设备信息。 确认填写的信息无误后,点击“确定”按钮保存门禁设备信息。
- 验证门禁设备连接。 新增门禁设备后,系统会自动尝试连接该设备。如果连接失败,请检查网络配置、IP 地址、序列号等信息是否正确。
- 配置门禁规则(可选)。 根据实际需求,配置门禁规则,例如允许哪些用户或用户组通过门禁访问云桌面。
配置门禁规则的具体步骤如下:
- 在“门禁管理”页面,选择需要配置规则的门禁设备。
- 点击“配置规则”按钮。
- 在弹出的“配置规则”对话框中,选择允许或拒绝访问的用户或用户组。
- 设置访问时间段(可选)。
- 保存门禁规则。
常见问题排查
- 无法连接到门禁设备:
- 检查 vDisk 云桌面服务器与门禁设备之间的网络连接是否正常。可以使用
ping命令测试网络连通性。 - 检查门禁设备的 IP 地址是否正确。
- 检查门禁设备的序列号是否正确。
- 检查防火墙是否阻止了 vDisk 云桌面服务器与门禁设备之间的通信。
- 确认门禁设备是否支持与 vDisk 云桌面对接。联系门禁设备厂商获取技术支持。
- 检查 vDisk 云桌面服务器与门禁设备之间的网络连接是否正常。可以使用
- 门禁规则不生效:
- 检查门禁规则是否已正确配置。
- 检查用户或用户组是否已添加到相应的门禁规则中。
- 检查访问时间段设置是否正确。
- 尝试重启门禁设备和 vDisk 云桌面服务器。
- 门禁设备数据同步延迟:
- 检查 vDisk 云桌面服务器与门禁设备之间的网络连接是否稳定。
- 检查门禁设备的数据同步频率设置。
- 联系门禁设备厂商获取技术支持。
落地建议
- 充分测试: 在正式部署前,务必进行充分的测试,确保门禁设备与 vDisk 云桌面能够正常协同工作。
- 定期维护: 定期检查门禁设备的状态,并及时更新固件和软件。
- 备份配置: 定期备份门禁设备的配置信息,以便在发生故障时快速恢复。
- 安全加固: 采取必要的安全措施,例如修改默认密码、启用双因素身份验证等,防止未经授权的访问。
- 监控和审计: 启用监控和审计功能,记录云桌面访问行为,以便及时发现和处理安全事件。
- 培训用户: 对用户进行培训,使其了解如何正确使用门禁设备访问云桌面。
- 选择合适的门禁设备: 建议选择与 vDisk 云桌面有良好兼容性的门禁设备,并充分考虑安全性、稳定性、易用性等因素。
- 合理规划分组: 根据实际业务需求,合理规划门禁设备的分组,以便进行集中管理和控制。
通过以上步骤,您就可以在 vDisk 云桌面集控管理平台中成功新增和配置门禁设备,从而实现对云桌面访问权限的有效管理和控制。如果在配置过程中遇到任何问题,请参考上述常见问题排查或联系 vDisk 云桌面技术支持团队。
相关配图

