如何添加监控?
定位到 物联管理->监控管理
第一步,先进行流媒体服务器配置(自2025-12月发布版本起,安装云桌面服务端时就已经自带相关流媒体模块)

第二步,新增监控

注:所属分组一定要定位到子节点 不要把监控挂在上级节点
到这里,就添加完成,此时可以点击 测试即可观看
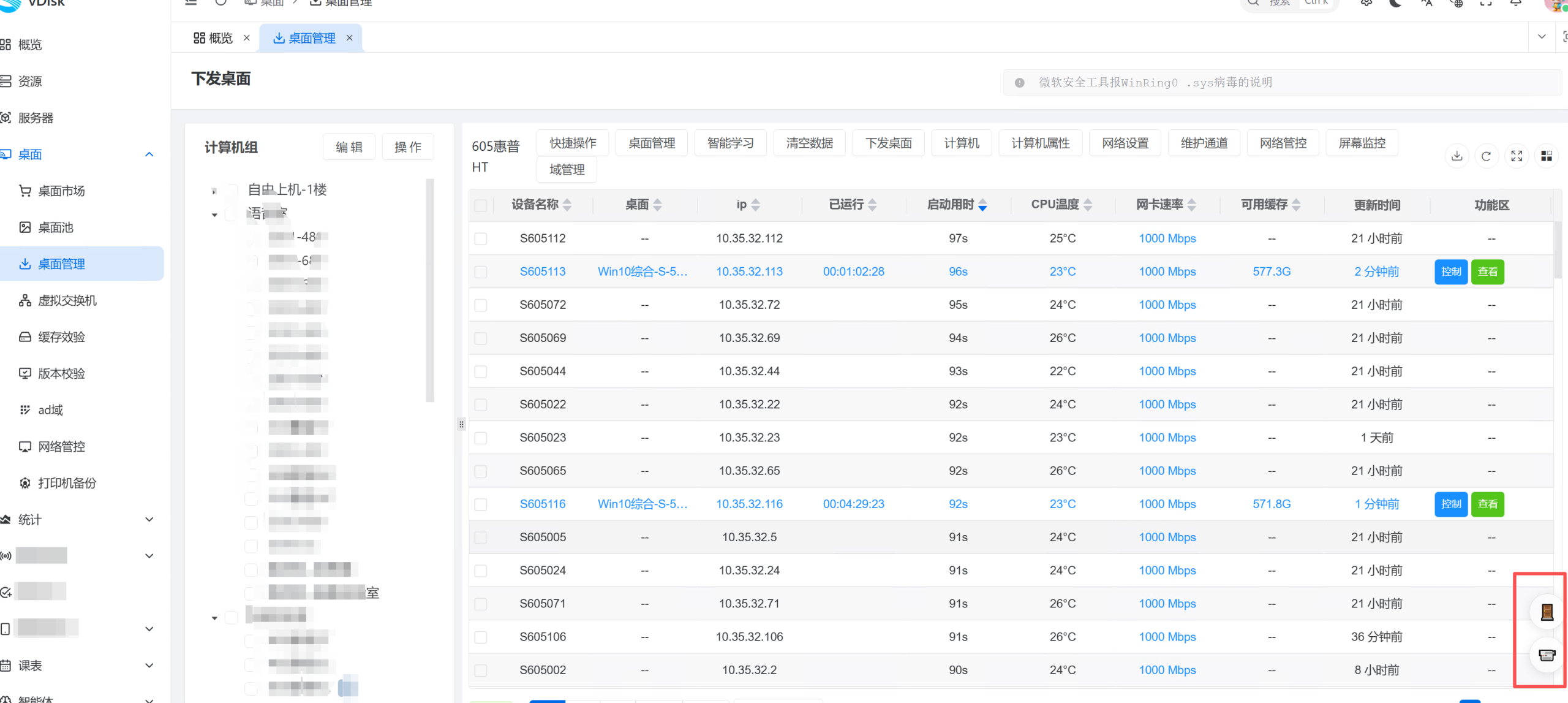
第三步,在桌面管理页面点击红框可查看

常见 RTSP 地址格式
一、RTSP 通用格式(最常见)
-
默认端口:
554 -
用户名密码中如果有特殊字符(@ : / 等),需要 URL 编码
二、海康威视(Hikvision)
1️⃣ 主码流
2️⃣ 子码流
通道说明
| 通道号 | 含义 |
|---|---|
| 101 | 第1路主码流 |
| 102 | 第1路子码流 |
| 201 | 第2路主码流 |
三、大华(Dahua)
1️⃣ 主码流
2️⃣ 子码流
-
subtype=0主码流 -
subtype=1子码流
四、宇视(Uniview / UNV)
1️⃣ 主码流
2️⃣ 子码流
五、ONVIF 通用 IPC(很多杂牌)
或:
六、NVR 取流(通过录像机)
海康 NVR
实际取的是 NVR 上的通道,而不是 IPC 的 IP
七、无用户名密码(不推荐)