vDisk 云桌面:如何校验本地缓存与版本一致性?

在使用 vDisk 云桌面集控管理平台进行大规模桌面管理时,确保所有终端的桌面版本与服务器保持一致至关重要。版本不一致可能导致兼容性问题、功能缺失甚至安全风险。vDisk 云桌面集控管理平台提供的“版本校验”功能,可以帮助管理员快速识别并解决本地缓存与服务器版本不一致的问题。本文将详细介绍如何使用该功能,以及在实际应用中可能遇到的问题及排查建议。
适用场景
- 大规模桌面环境部署:适用于管理大量云桌面,需要确保所有桌面版本一致的场景。
- 重要更新发布后:在服务器端更新桌面版本后,需要确认所有终端都已成功同步。
- 日常维护与巡检:定期检查桌面版本一致性,及时发现并解决潜在问题。
- 开学/节后集中使用前:在大量用户同时访问云桌面之前,确保所有终端都已更新到最新版本,避免因版本不一致导致的问题。
前置条件
- 已成功部署 vDisk 云桌面集控管理平台,并已添加需要管理的云桌面。
- 确保终端设备已连接到网络,并且能够正常访问 vDisk 云桌面服务器。
- 了解 vDisk 云桌面集控管理平台的基本操作,例如登录、导航等。
实施步骤
- 登录 vDisk 云桌面集控管理平台。 使用管理员账号登录到 vDisk 云桌面集控管理平台。
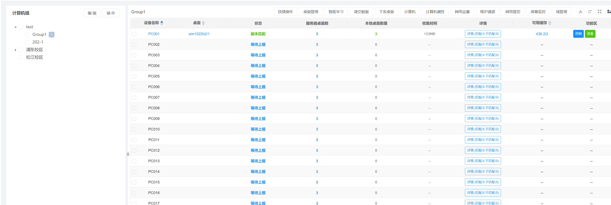
- 进入“版本校验”页面。 在控制台中,依次选择“桌面管理” -> “版本校验”。
- 查看校验结果。 系统将自动进行本地缓存与服务器桌面版本的对比,并在页面上显示结果。校验结果主要包括以下信息:
- 桌面总数: 当前管理的云桌面总数。
- 版本一致桌面数量: 本地缓存版本与服务器版本一致的桌面数量。
- 版本不一致桌面数量: 本地缓存版本与服务器版本不一致的桌面数量。
- 未同步桌面数量: 尚未同步到本地缓存的桌面数量。
- 分析校验结果。 根据校验结果,确定需要进一步处理的桌面。
- 如果“版本不一致桌面数量”或“未同步桌面数量”较高,则需要采取相应的措施来更新或同步本地缓存。
- 如果只有少量桌面版本不一致,可以单独进行处理。
- 处理版本不一致的桌面。 对于版本不一致的桌面,可以尝试以下方法进行处理:
- 强制刷新本地缓存: 在终端设备上,手动刷新 vDisk 云桌面的本地缓存。具体操作方式取决于终端所使用的客户端软件,通常可以在客户端的设置或选项菜单中找到“刷新缓存”或类似的选项。
- 重新启动终端设备: 有时,重新启动终端设备可以解决缓存同步问题。
- 重新下发桌面: 在 vDisk 云桌面集控管理平台中,选择版本不一致的桌面,然后执行“重新下发桌面”操作。此操作会将最新的桌面版本重新下发到终端设备。具体操作路径建议为:控制台 -> 桌面管理 -> 选择对应桌面 -> 更多 -> 重新下发桌面。(不同版本平台,菜单名称可能存在细微差异)
- 再次进行版本校验。 在处理完版本不一致的桌面后,再次执行版本校验,确认所有桌面的版本都已与服务器保持一致。
常见问题排查
在进行版本校验和处理版本不一致问题时,可能会遇到以下情况:
- 桌面数量不一致: 校验结果显示的桌面数量与实际管理的桌面数量不一致。
- 原因: 可能存在桌面未成功添加到 vDisk 云桌面集控管理平台,或者桌面状态异常(例如:已删除但未同步)。
- 排查建议: 检查 vDisk 云桌面集控管理平台的桌面列表,确认所有桌面都已正确添加,并且状态正常。检查终端是否正确连接网络,并且 vDisk 客户端程序是否正常运行。
- 版本始终无法同步: 即使多次刷新缓存或重新启动终端设备,桌面版本仍然无法与服务器保持一致。
- 原因: 可能存在网络连接问题、防火墙阻止了数据传输、终端磁盘空间不足或客户端软件存在 bug。
- 排查建议: 检查网络连接是否正常,确保终端可以访问 vDisk 云桌面服务器。检查防火墙设置,确保允许 vDisk 客户端程序进行网络通信。检查终端磁盘空间是否足够,确保有足够的空间存储桌面缓存。尝试更新或重新安装 vDisk 客户端软件。如果问题仍然存在,请联系技术支持。
- 校验结果不准确: 校验结果显示桌面版本一致,但实际使用中发现存在问题。
- 原因: 可能是校验过程出现错误,或者终端缓存损坏。
- 排查建议: 尝试重新执行版本校验。如果问题仍然存在,可以考虑手动比对终端上的桌面版本与服务器上的版本。具体方法取决于所使用的桌面操作系统和管理工具。例如,可以通过查看桌面操作系统的版本号、文件版本号等信息进行比对。
- 终端用户权限不足: 终端用户没有权限刷新缓存或更新桌面。
- 原因: 终端用户账号权限不足,无法执行相关操作。
- 排查建议: 确保终端用户具有足够的权限来刷新缓存和更新桌面。如果用户权限不足,需要提升用户权限或使用管理员账号进行操作。
落地建议
- 定期进行版本校验: 建议定期(例如:每周或每月)进行版本校验,及时发现并解决版本不一致问题。
- 建立版本管理规范: 制定明确的版本管理规范,确保所有桌面都按照规范进行更新和维护。
- 加强用户培训: 对终端用户进行培训,使其了解 vDisk 云桌面的基本操作和常见问题处理方法。
- 监控与告警: 设置监控系统,对桌面版本进行实时监控,并在发现版本不一致时及时发出告警。
- 自动化部署: 考虑使用自动化部署工具来简化桌面更新和维护过程,减少人工干预,提高效率。
- 使用集中策略管理: 利用 vDisk 云桌面集控管理平台的集中策略管理功能,统一配置桌面设置和应用程序,确保所有桌面都具有相同的配置。
通过以上步骤和建议,您可以有效地利用 vDisk 云桌面集控管理平台的版本校验功能,确保所有云桌面的版本一致,从而提高云桌面环境的稳定性和安全性。
相关配图
